
高精度液體渦輪流量計
- 品*:JKM/凱銘儀表
- 型號:JKM-LWGY
- 測量范圍:0.04~800m3/h
- 精度等級:0.5級、1.0級
- 公稱通徑:DN4~DN200
- 適用介質:水 油 醇 純凈液體
- 工作壓力:1.6~6.3MPa
- 工作溫度:-20~+100℃
- 供電方式:24VDC 3.6V鋰電池
- 訂貨號:UJM712743GHV
高精度液體渦輪流量計產品概述
LWGY系列渦輪流量傳感器(以下簡稱傳感器)基于力矩平衡原理,屬于速度式流量儀表。傳感器具有結構簡單、輕巧、精度高、重復性好、反應靈敏,安裝維護使用方便等特點,廣泛用于石油、化工、冶金、供水、造紙等行業,是流量計量和節能的理想儀表。
傳感器與顯示儀表配套使用,適用于測量封閉管道中與不銹鋼 1Cr18Ni9Ti、2Cr13 及剛玉 Al O 、硬質合金不起腐蝕作用,且無纖維、顆粒等雜質的液體。若與具有特殊功能的顯示儀表配套,還可以進行定量控制、超量報警等。選用本產品的防爆型式(ExmIIT6),可在有爆炸危險的環境中使用。
如用戶需用特殊形式的傳感器,可協商訂貨,需防爆型傳感器時,在訂貨中加以說明。

高精度液體渦輪流量計傳感器
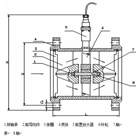
1.結構特征與工作原理
(1)結構特征
傳感器為硬質合金軸承止推式,不僅保證精度,耐磨性能提高,而且具有結構簡單、牢固以及拆裝方便等特點。
(2)工作原理
流體流經傳感器殼體,由于葉輪的葉片與流向有一定的角度,流體的沖力使葉片具有轉動力矩,克服摩擦力矩和流體阻力之后葉片旋轉,在力矩平衡后轉速穩定,在一定的條件下,轉速與流速成正比,由于葉片有導磁性,它處于信號檢測器(由永久磁鋼和線圈組成)的磁場中,旋轉的葉片切割磁力線,周期性的改變著線圈的磁通量,從而使線圈兩端感應出電脈沖信號,此信號經過放大器的放大整形,形成有一定幅度的連續的矩形脈沖波,可遠傳至顯示儀表,顯示出流體的瞬時流量或總量。在一定的流量范圍內,脈沖頻率 f與流經傳感器的流體的瞬時流量 Q成正比,流量方程為:

式中:
f--脈沖頻率[Hz]
k--傳感器的儀表系數[1/m3],由校驗單給出。
Q--流體的瞬時流量(工作狀態下)[m3/h]
3600--秒時換算系數
每臺傳感器的儀表系數由制造廠填寫在檢定**中,k值設入配套的顯示儀表中,便可顯示出瞬時流量和累積總量。
2.基本參數與技術性能
(一)基本參數:
◆類型
LWGY:基本型,+5-24DCV供電;
LWGYA:4~20mA兩線制電流輸出,遠傳変送型;
LWGYB:電池供電現場顯示型;
LWGYC:現場顯示/4~20mA 兩線制電流輸出;
LWGYD:RS485通訊輸出;
◆公稱通徑
4mm,普通渦輪流量范圍 0.04~0.25m3/h;
6mm,普通渦輪流量范圍 0.1~0.6m3/h;
10mm,普通渦輪流量范圍 0.2~1.2m3/h;
12mm,普通渦輪流量范圍 0.2~2m3/h;
15mm,普通渦輪流量范圍 0.6~6m3/h;
20mm,普通渦輪流量范圍 0.7~7m3/h;
25mm,普通渦輪流量范圍 1~10m3/h;
32mm,普通渦輪流量范圍 1.5~15m3/h;
40mm,普通渦輪流量范圍 2~20m3/h;
50mm,普通渦輪流量范圍 4~40m3/h;
65mm,普通渦輪流量范圍 7~70m3/h;
80mm,普通渦輪流量范圍 10~100m3/h;
100mm,普通渦輪流量范圍 20~200m3/h;
125mm,普通渦輪流量范圍 25~250m3/h;
150mm,普通渦輪流量范圍 30~300m3/h;
200mm,普通渦輪流量范圍 80~800m3/h;
◆防爆
無標記,為非防爆型
防爆型
◆精度等級
精度 0.5級;
精度 1級;
◆渦輪類型
寬量程渦輪;
普通渦輪流量計;
DN4-DN25 口徑的傳感器為螺紋連接,*大工作壓力為16Mpa;
DN32-DN200 口徑的傳感器為法蘭連接, *大工作壓力為16Mpa;
DN4-DN10口徑的傳感器帶有前后直管段。
DN15以上口徑的傳感器我公司可配套前后直管段。
(2)介質溫度:-20~+120℃.
(3)環境溫度:-20~+65℃.
(4)供電電源:電壓:+6-24VDC, 電流:≤10mA.
電池供電時為 3.6V/0.3mA。 485 通訊電流增加0.6mA。
(5)傳輸距離:傳感器至顯示儀表的距離可達 1000m.
3.安裝、使用和調整
高精度液體渦輪流量計產品特點
1、高精確度,一般可達±1.0%R、±0.5%R,高精度型可達±0.2%R
2、重復性好,短期重復性可達0.05%~0.2%,正是由于具有良好的重復性,如經常校準或在線校準可得到極高的精確度,在貿易結算中是優先選用的流量計
3、輸出脈沖頻率信號,適于總量計量及與計算機連接,無零點漂移,抗干擾能力強
4、可獲得很高的頻率信號(3-4kHz),信號分辨力強
5、范圍度寬,中大口徑可達1:20,小口徑為1:10
6、結構緊湊輕巧,安裝維護方便,流通能力大
7、適用高壓測量,儀表表體上不必開孔,易制成高壓型儀表
8、專用型傳感器類型多,可根據用戶特殊需要設計為各類專用型傳感器,例如低溫型、雙向型、井下型、混砂專用型等
9、可制成插入型,適用于大口徑測量,壓力損失小,價格低,可不斷流取出,安裝維護方便
高精度液體渦輪流量計基本參數與技術性能
儀表口徑及連接方式:4、6、10、15、20、25、32、40采用螺紋連接;(15、20、25、32、40)50、65、80、100、125、150、200采用法蘭連接;
精度等級:±1%R、±0.5%R;
量程比:1:10;1:15;1:20;
儀表材質:304不銹鋼、316(L)不銹鋼等;
被測介質溫度(℃):-20~+120℃;
環境條件:溫度-10~+55℃,相對濕度5%~90%,大氣壓力86~106Kpa;
輸出信號:脈沖頻率信號,低電平≤0.8V 高電平≥8V;
供電電源:+12VDC 、+24VDC(可選);
信號傳輸線:STVPV3×0.3(三線制);
傳輸距離:≤1000m;
信號線接口:豪斯曼接頭;
防爆等級:非防爆產品;
防護等級:IP65;
高精度液體渦輪流量計測量范圍及工作壓力


高精度液體渦輪流量計安裝
傳感器的安裝方式根據規格不同,采用螺紋或法蘭連接,安裝方式見圖一、圖二、圖三,安裝尺寸見表二。


過濾器結構圖
圖一 LWGY-4~10傳感器結構及安裝尺寸示意圖


2. 圖二 LWGY-15~40傳感器結構及安裝尺寸示意圖


圖三LWGY-50~200傳感器結構及安裝尺寸示意圖
(3)渦輪流量傳感器接線說明:
(4)打開后殼蓋,如圖:

傳感器可水平、垂直安裝,垂直安裝時流體方向必須向上。
液體應充滿管道,不得有氣泡。安裝時,液體流動方向應與傳感器外殼上指示流向的箭頭方向一致。
傳感器上游端至少應有20 倍公稱通徑長度的直管段,下游端應不少于 5 倍公稱通徑的直管段,其內壁應光滑清潔,無凹痕、積垢和起皮等缺陷。
傳感器的管道軸心應與相鄰管道軸心對準,連接密封用的墊圈不得深入管道內腔。
傳感器應遠離外界電場、磁場,必要時應采取有效的屏蔽措施,以避免外來干擾。
為了檢修時不致影響液體的正常輸送,建議在傳感器的安裝處,安裝旁通管道。
傳感器露天安裝時,請做好放大器及插頭的防水處理。傳感器與顯示儀表的接線如圖四所示。
當流體中含有雜質時,應加裝過濾器,過濾器網目根據流量雜質情況而定,一般為 20~60 目。當流體中混有游離氣體時,應加裝消氣器。整個管道系統都應良好密封。
用戶應充分了解被測介質的腐蝕情況,嚴防傳感器受腐蝕。
(5)使用和調整
◆ 使用時,應保持被測液體清潔,不含纖維和顆粒等雜質。
◆ 傳感器在開始使用時,應先將傳感器內緩慢的充滿液體,然后再開啟出口閥門,嚴禁傳感器在無液體狀態時受高速流體的沖擊。
◆ 傳感器的維護周期一般為半年。檢修清洗時,請注意勿損傷測量腔內的零件,特別是葉輪。裝配時注意導向件及葉輪的位置關系。
◆ 傳感器不用時,應清洗內部液體,且在傳感器兩端加上防護套,防止塵垢進入,然后置于干燥處保存。
◆ 配用時的過濾器應定期清洗,不用時,應清洗內部的液體,同傳感器一樣,加防塵套,置于干燥處保存。
◆ 傳感器的傳輸電纜可架空或埋地敷設(埋地時應套上鐵管。)
◆ 在傳感器安裝前,先與顯示儀表或示波器接好連線,通電源,用口吹或手撥葉輪,使其快速旋轉觀察有無顯示,當有顯示時再安裝傳感器。若無顯示,應檢查有關各部分,排除故障。
上一篇:JKM-LWGY測水渦輪流量計
下一篇:JKM-LWQ天然氣渦輪流量計


